(一)何为VSM价值流程图分析
Value Stream Mapping,取每个单词的前一个字母,翻译成中文为价值流程图,是实现精益生产而寻找和减少过程浪费的工具方法之一,其他工具包括:
5S & 目视化管理 Visual Management。
精益制造 Lean Manufacturing。
平衡生产线Line Balancing,均衡载荷Daily Level-Loaded Scheduling,缩短作业准备时间QCO,广告牌拉动Kanban Pull, 差错预防Error Proofing,单元设计Cell Design,全员设备维护TPM,改善Kaizen,6西格玛6 Sigma。
供应链管理 Supply Chain Management。
需求管理 Demand Management。
价值流Value Stream:一个产品通过其基本生产过程所要求的全部活动(包括增加价值的活动和不增加价值的活动)。
价值流程图Value Steam Map:从宏观角度观察和描绘产品的信息流和物流,从供应商到生产厂家,再到客户的所有流程和路径的图,包括现状图和未来图(丰田称之为物料和信息流图)。
价值流程图分析 Value Stream Mapping,是一套通过画价值流程图来改善流程的工具和方法。在此,我们需要了解两个含义:
第一个是:什么是生产中的增值?
站在客户的立场上有四种增值的工作:
(1)使物料变形(如冲压)。
(2)组装。
(3)改变性能。
(4)产品包装。
其实物料从进厂到成品出厂这段过程,一般只有不到10%的增值时间。
第二个是:什么是生产中的浪费?
除了使产品增值所需的物料、设备和人力资源的绝对最少量以外的东西,任何非必需的东西(如搬运)。
例如:可乐罐的价值流如图7-1所示。

图7-1 可乐罐的价值流
加工时间:3 小时。
储存和运输时间:11 个月。
累计报废:24%。
不同行业的价值分析数据会有一些差异,如表7-1所示。
表7-1 不同行业的价值分析数据
行业 | 工序总数 | 增值工序数 | 增值比% |
玻璃制品 | 72 | 6 | 8 |
食品 | 37 | 4 | 11 |
纺织 | 105 | 11 | 10 |
金属 | 187 | 13 | 7 |
电子 | 239 | 19 | 8 |
消费产品 | 105 | 10 | 10 |
生产支持 | 98 | 15 | 15 |
(二)画价值流程图的目的
(1)超越单个工艺过程层次而建立宏观生产流程的能力。
(2)帮助发现浪费及浪费源。
(3)展示了信息流与物流之间的联系。
(4)提供一个与各级沟通的工具。
(5)根据流动障碍确定改善的优先次序。
(6)使精益的概念与技术结合起来,避免只挑容易的来改进。
(7)形成实施计划的基础。
(8)为未来的“完美”境界展现一份蓝图。
(三)画价值流程图的要点
(1)通常在巡视时收集信息。
(2)先快速浏览门对门情况。
(3)从发货点和工作上游开始。
(4)自己计算(回避系统里的数字)。
(5)自己做整个流程。
(6)用笔纸记录整个路线,前期拒绝用电脑。
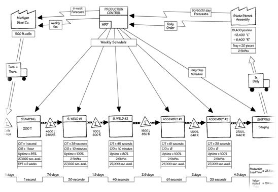
示例:绘制好的价值流程图如图7-2所示。

图7-2 绘制好的价值流程图

贺小林